ИВМ СО РАН Поиск 
Отчеты ИВМ СО РАН

Отчет ИВМ СО РАН за 2007 год

Программы РАН

Президиум РАН


Программа № 8 «Разработка методов получения новых химических веществ и создание новых материалов»

Проект № 23 «Модифицирование конструкционных сплавов нанопорошками тугоплавких соединений: влияние состава и состояния исходных материалов на структуру и свойства»

Руководитель: д.т.н., проф. Г. Г. Крушенко

Существующие способы введения в металлические расплавы порошкообразных добавок «прямым путем» с целью измельчения структуры литых изделий не могут быть приняты при использовании нанопорошков (НП) вследствие того, что частицы НП легко «слипаются», их окисление начинается при сравнительно низких температурах. Кроме того, частицы плохо смачиваются жидким металлом, что снижает их эффективность. В связи с этим ранее был разработан новый способ введения НП в расплав. При этом исходили из необходимости предотвращения контакта частиц порошка с кислородом в процессе их введения, беспрепятственного проникновения частиц через окисную пленку, контролируемого дозирования по массе и исключения агрегирования.

С этой целью композицию, состоящую из частиц алюминия и НП, прессовали в пруток. Содержание НП в прутках находилось в пределах 1,5...2,7 масс. %. Полученные прутки служили носителем модификатора — при их введении в расплав алюминиевая матрица расплавлялась, и частицы НП оказывались в объеме жидкого металла, минуя контакт с атмосферой. Однако при работе с «прутковым модификатором» сложность заключается в необходимости прессования прутка, выполняемого на гидравлическом прессе с высоким усилием (до 400 тс).

В связи с этим был разработано устройство и новый способ модифицирования сплавов НП с использованием ультразвуковых колебаний (УЗК).

Работа проводилась на широко распространенном конструкционном алюминиево-кремниевом сплаве АК12 (Al+10-13%Si). В качестве модификаторов применяли НП оксида алюминия AI2O3, карбонитрида кремния Si3N4 и диборида циркония ZrB2.

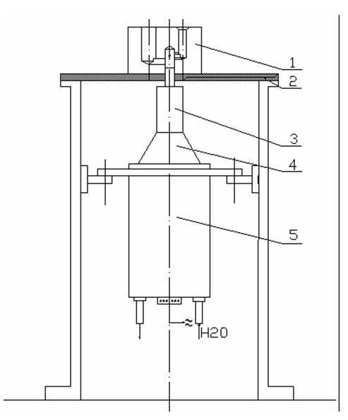
На рис. 30 представлена установка (на рис. 31 схема установки) для обработки УЗК расплава в процессе его заливки в кокиль (рис. 32). Упругие колебания вводилась при заливке металла в форму в специально сконструированную в литниковой системе реакционную камеру. Кокиль (2) устанавливался на рабочем столе установки так, чтобы излучатель колебаний входил в отверстие (Ø 24 мм), расположенное в дне реакционной камеры.

Экспериментальную установку располагали в непосредственной близости от индукционной печи и ультразвукового генератора УЗГ2-10. УЗК передавали в расплав от магнитострикционного преобразователя промышленного типа ПМС-15А-18, через ступенчатый концентратор полуволновой длины (3), изготовленный из стали 45. Резонансную длину концентратора расчитывали по формуле

L = Vс/2f,

где: Vс = 5170 м/с — скорость звука в материале концентратора; f — частота колебаний, кГц.

В отличие от известных методов ввода упругих колебаний в кристаллизующийся сплав был выбран новый способ введения ультразвука в расплав «Ультреакам». Он заключается в том, что энергия упругих колебаний вводилась при заливке металла в форму в специально сконструированную в литниковой системе реакционную камеру.

Сплав готовили в индукционной печи ЛПЗ-67 в графитовом тигле. Заливку производили при 760°С. НП вводили в расплав в реакционной камере в тонкостенной алюминиевой гильзе (рис. 33 : длина рабочей части — 16 мм, диаметр — 5,5 мм, толщина стенки — 1 мм), которая крепилась в отверстии в реакционной камере кокиля перпендикулярно направлению потоку заливаемого металла. В процессе заливки стенки гильзы растворялись, и НП попадал в расплав без контакта с атмосферой. Из отлитых проб вытачивали стандартные образцы для испытания механических свойств, результаты которых представлены в таблице 1.

Анализ полученных результатов показал, что при всех изученных видах обработки расплава механические свойства превышают требуемые по ГОСТ 1583-93. При этом, в случае введения НП В4С в объеме прутка σв несколько превышает σв, полученное при модифицировании сплава общепринятым тройным модификатором (25% NaF+62,5% NaCl+12,5% KCl), однако δ и НВ оказались более низкими, тогда как при совмещении введения НП прямым путем с обработкой УЗК механические свойства оказались более высокими, особенно δ. Наиболее высокие свойства показала комбинация 0,04% НП Al2O3+УЗК.

Рис. 30
Рис. 30. Установка для модифицирования сплава АК12 при одновременном воздействии ультразвуковых колебаний
Рис. 31
Рис. 31. Схема установки: 1 — кокиль; 2 — рабочий стол; 3 — ступенчатый концентратор; 4 — трансформатор колебаний; 5 — преобразователь ПМС-15А-18
Рис. 32
Рис. 32. Схема кокиля
Рис. 33
Рис. 33. Алюминиевая гильза

Таблица 1. Механические свойства сплава АК12 в зависимости от вида обработки

Вид обработки. Литье в кокиль σв, МПа δ, % НВ, МПа
Требуемые по ГОСТ 1583-89 без термообработки ≥ 160 ≥ 2,00 ≥ 500
Без обработки УЗК и без модифицирования 178 3,91 624
Обработка УЗК 197 9,49 624
Модифицирование тройным модификатором 202 6,4 649
Введение НП В4С (0,08%) в прутке 204 5,2 593
Введение НП прямым путем:      
НП Si3N4(0,005%)+УЗК 204 10,47 649
НП ZrB2(0,01%)+УЗК 210 10,25 636
НП Al2O3(0,04%)+УЗК 210 12,85 668

Основные публикации:

  1. Москвичев В. В., Крушенко Г. Г., Буров А. Е.
    Технологии применения нанопорошков тугоплавких соединений для повышения характеристик механических свойств и качества изделий машиностроения // Материалы науч. сессии Президиума СО РАН «Наука и нанотехнологии». — Новосибирск: изд-во СО РАН. — 2007. — С. 94–102.

  2. Крушенко Г. Г., Москвичев В. В., Буров А. Е., Бачина О. И.
    Применение наопорошков химических соединений для повышения качества металлоизделий из алюминиевых сплавов // Тр. IV Междунар. технол. конгресса «Военная техника, вооружение и современные технологии при создании продукции военного и гражданского назначения». — Омск: ОмГТУ. — 2007. — Ч. 2. — С. 350–354.

  3. Крушенко Г. Г., Решетникова С. Н.
    Применение и перспективы развития нанотехнологий // Вестник СибГАУ. — 2007. — Вып. 3. — С. 103–106.

  4. Крушенко Г. Г., Буров А. Е.
    Применение нанопопрошков в технологиях изготовления металлоизделий // Материалы VI Междунар. науч.-техн. конф. «Динамика систем, механизмов и машин». — Омск: ОмГТУ. — 2007. — С. 23-28.

(Отдел машиноведения)

К началу


Программа № 14 «Фундаментальные проблемы информатики и информационных технологий»

Проект № 7 «Методы и средства OLAP-моделирования»

Руководитель: д.т.н., проф. Л. Ф. Ноженкова

Разработаны новые средства в OLAP-технологии (OnLine Analytical Processing — оперативная аналитическая обработка), ориентированные на решение сложных аналитических задач, использующих связные многошаговые расчеты с множеством информационных объектов, представленных многомерными кубами данных. Разработана методика применения интеллектуальных средств для управления OLAP-моделированием, позволяющих наглядно представлять процесс выполнения моделей. Отличительной чертой предложенной методики является наличие интеллектуальных средств для метаописания комплекса OLAP-моделей, позволяющих не только редактировать алгоритм аналитического расчета, но и интерактивно управлять вычислительным процессом.

На основе интеграции OLAP и ГИС технологий выполнена реализация технологии оперативного геомоделирования. Требование оперативности предполагает получение информации по территориально ориентированным задачам в реальном времени. Интеграция ГИС и OLAP-системы способствует повышению наглядности представления результатов аналитической обработки данных, сочетая ее с геомоделированием. Возможности динамической связи картографических объектов с многомерными данными существенно расширяют функциональность как OLAP-системы, так и встроенной в систему ГИС. В результате интеграции OLAP-система приобретает дополнительные возможности наглядного представления многомерных данных, ГИС — мощный блок управления данными на основе OLAP с развитым инструментарием по формированию аналитических запросов.

Выполнено апробирование технологии путем реализация комплексов OLAP-моделей и OLAP-приложений для решения задач оперативного анализа данных в разных прикладных областях. Предложенные методические и алгоритмические средства позволили по-новому реализовать процесс формирования территориальных программ медицинской помощи за счет интеллектуальных средств управления OLAP-моделированием и автоматизировать этапы расчета, требующие применения экспертных методов. Выполнено OLAP-моделирование в задачах оперативного анализа пожарной обстановки в сельских районах Красноярского края.

Основные публикации:

  1. Евсюков А. А.
    Динамическое формирование тематических карт для поддержки территориального управления // Материалы X Всерос. науч.-практ. конф. «Проблемы информатизации региона». — Красноярск: ПИ СФУ. — 2007. — Т. 1. — С. 71-76.

  2. Ноженкова Л. Ф.
    Средства OLAP-моделирования и их применение в задачах здравоохранения // Докл. XIII Всерос. конф. «Математические методы распознавания образов». — М.: МАКСПРЕСС. — 2007. — С. 609–612.

  3. Вайнштейн Ю. В., Ноженков А. И.
    Методы построения управляемых комплексов OLAP-моделей для задач здравоохранения // Материалы X Всерос. науч.-практ. конф. «Проблемы информатизации региона». — Красноярск: ПИ СФУ. — 2007. — Т. 1. — С. 28-34.

(Отдел прикладной информатики)

К началу


Программа № 14 «Фундаментальные проблемы информатики и информационных технологий»

Проект № 8 Моделирование нестационарных процессов в упругопластических и сыпучих средах на многопроцессорных вычислительных системах»

Руководитель: д.ф.-м.н., проф. В. М. Садовский

В рамках математической модели континуума Коссера, в которой наряду с поступательными степенями свободы учитываются независимые вращения частиц микроструктуры материала, выполнены расчеты пространственной задачи Лэмба о действии сосредоточенной импульсной нагрузки под углом к поверхности однородного полупространства. В силу линейности задача в общей постановке сведена к четырем элементарным задачам, решения которых образуют фундаментальную систему решений. К ним относятся две традиционные задачи, постановки которых хорошо известны из линейной (безмоментной) теории упругости, о распространении продольных и поперечных волн напряжений, вызванных действием нормальной и касательной нагрузок, и две нестандартные задачи, характерные для моментной среды, о распространении крутильных волн и волн вращательного движения частиц за счет действия на границе сосредоточенного скручивающего момента и момента сил вращения.

На сейсмограммах, построенных по результатам расчетов с помощью разработанной ранее технологии в системе обработки геофизических данных SeisView, идентифицированы четыре типа волн, скорости которых известны из анализа характеристических свойств уравнений модели. Выявлено существенное качественное отличие волнового поля в моментной среде Коссера по сравнению с классической теорией упругости, которое заключается в появлении автоколебаний вращательного движения частиц на фронтах продольных волн. Проведены сравнительные расчеты с различными значениями масштаба микроструктуры среды (рис. 34, 35), в которых установлена прямая пропорциональная зависимость периода автоколебаний от этого масштаба.

Рис. 34
Рис. 34. Сейсмограммы падающих волн в задаче Лэмба для касательной нагрузки

Касательное перемещение частиц (сверху) и угол поворота в плоскости разреза (снизу). Сопоставляются результаты расчетов для различных масштабов неоднородности (мелкие частицы слева и втрое более крупные справа).

Рис. 35
Рис. 35. Волновые поля напряжений (нормального напряжения сверху и касательного снизу) для двух микромасштабов, соответствующих рис. 1. На рисунках видны падающие продольные и поперечные волны, а также головные поперечные волны и поверхностные волны Релея

Расчеты выполнены на кластере МВС-15000 Межведомственного суперкомпьютерного центра (МСЦ, г. Москва). Результаты расчетов уникальны, поскольку численное решение рассматриваемых задач с приемлемой точностью не может быть получено разностными методами на современном персональном компьютере или рабочей станции из-за ограничений по оперативной памяти и быстродействию процессора. Они могут служить методической основой при планировании экспериментов по определению феноменологических параметров определяющих уравнений континуума Коссера — проблеме, практически нерешенной в настоящее время. С их помощью, пользуясь интегральным представлением решения посредством функции Грина, можно моделировать произвольные распределенные воздействия на поверхности однородного упругого полупространства.

Разработана вероятностная модель, позволяющая оценить резервирующую способность (способность системы сопротивляться разрушению при наличии полностью или частично поврежденных элементов) систем с параллельным соединением несущих элементов. Определены условия, при которых отказ отдельных элементов не приводит к катастрофическому разрушению всей системы. Критическое число отказавших элементов оценивается по параметрам распределения их прочности и общего числа элементов системы. Показано, что при увеличении числа несущих элементов снижается среднее значение напряжений, приводящих к разрушению отдельного элемента, но возрастает уровень напряжений, при котором происходит катастрофическое разрушение всей системы, за счет увеличения резервирующей способности.

Дано обобщение линейной модели моментной среды для описания деформации сыпучих материалов, по-разному сопротивляющихся растяжению и сжатию и обладающих, кроме того, пластическими свойствами. Такое обобщение получено на основе реологического метода конструирования нелинейных определяющих уравнений сложных сред. В терминах тензоров напряжений и моментов сформулированы критерий прочности и условие пластичности, которые требуются при построении определяющих соотношений пространственного напряженно-деформированного состояния. Применены принципы необратимой термодинамики в форме неравенства максимальной мощности диссипации энергии, учитывающего, кроме пластической деформации среды, также необратимое изменение кривизны. Разработаны параллельные алгоритмы численной реализации модели, основанные на распределении объема вычислений между процессорами по способу разбиения расчетной области (1D, 2D или 3D разбиения) с применением методов расщепления по пространственным переменным и по физическим процессам. Численную реализацию модели предполагается провести на следующем этапе работы по проекту.

Основные публикации:

  1. Садовская О. В., Садовский В. М.
    Математическое моделирование в задачах механики сыпучих сред. — М.: Физматлит, 2007. — 365 с.

  2. Sadovskaya O. V., Sadovsky V. M.
    Numerical analysis of elastic waves propagation in Cosserat continuum // Proc. 8th Int. Conf. on Mathematical and Numerical Aspects of Waves «Waves 2007». — University of Reading (Great Britain), INRIA (France). — 2007. — P. 327–329.

  3. Кучунова Е. В., Садовский В. М.
    Параллельный алгоритм расчета упругих волн в блочной среде // Материалы VI школы-семинара «Распределенные и кластерные вычисления». — Красноярск: ИВМ СО РАН. — 2006. — С. 79-89.

(Отдел вычислительной механики деформируемых сред)

К началу


Программа № 16 «Изменение окружающей среды и климата: природные катастрофы»

Проект № 9 «Компьютерная модель глобальной геодинамики»

Руководитель: чл.-корр. РАН В. В. Шайдуров

Выполнен анализ геодинамических условий возникновения последовательности «индикаторных» землетрясений, которые предваряли сильные землетрясения, произошедшие в районе Средних Курил 15 ноября 2006 г. и 13 января 2007 г. Оцениваются конфигурация формирующейся очаговой области и характер форшокового процесса для соответствующих периодов времени наблюдений. При детальном пространственно-временном анализе сейсмического процесса подготовки катастрофических землетрясений в регионе Центральных Курил выделяется сейсмоактивная очаговая область радиусом 400 км. В рассматриваемой сейсмической системе за период времени 1.08.2006 — 22.08.2007 гг. наблюдаются землетрясения с магнитудами в интервале 3.0 < M < 8.2 в диапазоне глубин 10-40 км. Для целей оперативной оценки сейсмической опасности в структуре изучаемого пространственно-временного ряда (процесс подготовки катастрофического землетрясения 15.10.2006 г.) выделены признаки, имеющие прогностический характер.

Впервые для описания геодинамических процессов использованы полные уравнения Навье-Стокса, определяющие законы сохранения массы, импульса и энергии с учетом тепловых и диссипативных потерь под действием гравитационных сил. Для сферически-симметричного случая построена дискретная модель, сохраняющая балансовые равенства в конечном объеме. На основе метода конечных элементов получена консервативная вариационно-разностная схема первого порядка аппроксимации. Рассмотрены различные варианты прямых и итерационных методов решения квазилинейных сеточных уравнений. К решению полученных больших систем линейных алгебраических уравнений специального вида с трехдиагональной матрицей применен метод немонотонной прогонки, который отличается высокой вычислительной устойчивостью (Г. И. Щепановская, А. В. Вяткин).

На рис. 36 выделена линия начального распределения плотности, соответствующая важнейшим граничным поверхностям Мохоровичича (10 — 70 км) и Вихерта-Гутенберга (2900 км).

Рис. 36
Рис. 36. Изменение плотности по радиусу Земли для различных моментов времени под действием гравитационных сил

Основные публикации:

  1. Lavrentiev M. M., Simonov K. V., Sibgatulin V. G., Peretokin S. A.
    Energy Structure of Seismic Zones Processes // Workshop on Tsunami 2006. — Yokohama, Keio University, Yapan. — 2007. — P. 125–128.

  2. Шайдуров В. В., Щепановская Г. И.
    Газодинамическая модель внутреннего строения Земли // Материалы ХI Междунар. научн. конф «Решетневские чтения». — Красноярск: СибГАУ. — 2007. — С. 268–269.

  3. Шайдуров В. В., Щепановская Г. И.
    Исследование математической модели динамики геосфер Земли // Тез. IХ Всерос. конф. «Современные методы математического моделирования природных и антропогенных катастроф». — Барнаул: Алтайский гос. ун-т. — 2007. — С. 113.

  4. Шайдуров В. В., Щепановская Г. И.
    Численное моделирование спрединга и рифтинга геосфер под воздействием осесимметричного теплового возмущения // Тр. II Всерос. конф. «Безопасность и живучесть технических систем». — Красноярск: ИВМ СО РАН. — 2007. — С. 123–128.

  5. Шайдуров В. В., Щепановская Г. И.
    Численное моделирование взаимодействия тепловых импульсов в вязком газе // Тр. междунар. конф. «Дифференциальные уравнения, теория функций и приложения». — Новосибирск: НГУ. — 2007. — С. 646–647.

  6. Вяткин А. В., Шайдуров В. В.
    Взаимодействие и движение магнитных диполей // Материалы XI Междунар. научн. конф. «Решетневские чтения». — Красноярск: СибГАУ. — 2007. — С. 221–222.

(Отделы вычислительной математики, вычислительных моделей в гидрофизике)

К началу


Программа № 16 «Изменение окружающей среды и климата: природные катастрофы»

Часть 3 «Солнечная активность и физические процессы в системе Солнце-Земля»

Направление 3 «Взаимодействие солнечного ветра с магнитосферой, магнитосферные процессы»

Проект 3.7 «Взаимосвязь возмущений и волн в земной магнитосфере»

Блок «Генерация крупномасштабного электрического поля в магнитосфере Земли»

Руководитель: д.ф.-м.н. В. В. Денисенко

Построены распределения локальных и интегральных проводимостей в низкоширотной ионосфере на основе известных эмпирических моделей. В результате анализа различий между локальной Каулинговской проводимостью и специфической локальной проводимостью, которая получается из интегральной Каулинговской проводимости с учетом высокой продольной проводимости в искривленном магнитном поле, показано, что локальная Каулинговская проводимость может быть использована в меньшей области ионосферы, а именно, только на таких магнитных силовых линиях вблизи геомагнитного экватора, вершины которых лежат в Е-слое (В. В. Денисенко).

Основные публикации:

  1. Denisenko V. V., Biernat H. K., Zamay S. S.
    Modification of conductance due to the acceleration of the ionospheric medium // Proc. IV Int. Conf. «Solar-Terrestrial bonds and earthquake precursors». — Petropavlovsk-Kamchatsky. — 2007. — P. 281–286.

(Отдел вычислительной математики)

К началу